![]() Inhalt | Mailbox | Elektronik | Verkehr | Markt | Download | Geld | Suchen |
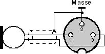
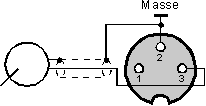
Stecker- und Buchsenbelegungen von Audiogeräten - DIN (Diodenstecker und -buchsen) |
|---|
|
|
letzte Änderung dieser Seite: 27. Dezember 2008 |
© 2000, Elektron BBS, Udo Bertholdt |